
La oficina de patentes de Estados Unidos acaba de publicar la correspondiente al GWF-D1000, el Frogman de G-Shock. Es cierto que, fuera de los aficionados incondicionales a G-Shock, especialmente a sus digitales, o a los aficionados a la electrónica digital de relojería, el interés de esta publicación no es mucho, pero tratándose de un modelo que despierta tantas pasiones como es el nuevo Frogman no podíamos dejar de ofrecérosla.
La publicación de la patente, aunque con fecha de últimos de agosto, apareció para su disposición a la consulta pública hace pocos días. Hay que agradecerle también a la oficina de patentes de los Estados Unidos la facilidad para que todo interesado pueda acceder a este tipo de documentación (para algunos nos resulta sumamente útil), algo que, por desgracia, no se puede decir de las oficinas de patentes de otros lugares, entre ellos la europea. Y es que aún le queda mucho que aprender -y un largo camino por recorrer- a la Administración europea para llegar al nivel de la de USA, es curioso que, con la cantidad de dinero público que en ella se derrocha, en Europa aún estemos a niveles tercermundistas en este tipo de acceso a documentos oficiales, lo que resulta muy vergonzoso dado el ingente número de funcionarios que en Bruselas (y en sus "filiales" en sus países respectivos) trabajan, todos con dinero público que, sin embargo, no revierte en beneficio del contribuyente. Y es lamentable que tengamos que irnos, incluso los propios europeos, a oficinas de patentes en Estados Unidos o Gran Bretaña porque el sistema europeo es, sencillamente, absolutamente inútil (lo poco intuitivo ya ni lo mencionemos).

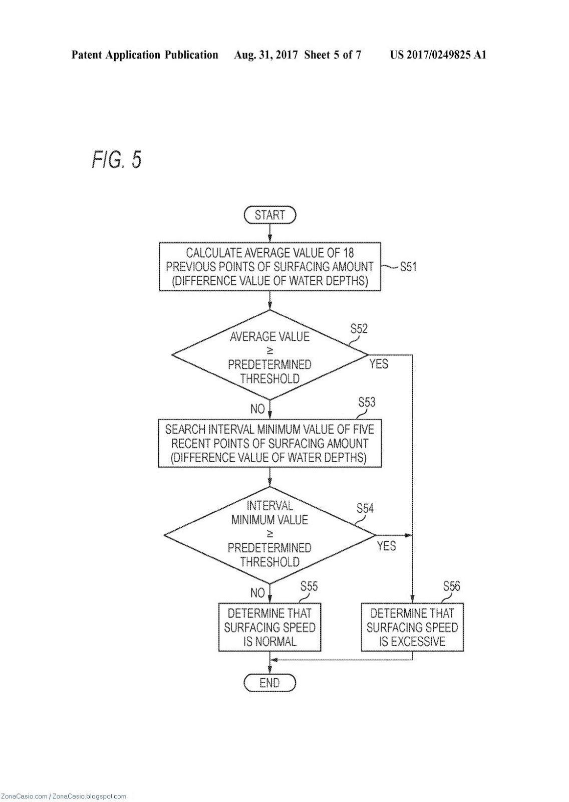
Pero dejando la política aparte, en esta documentación podemos atisbar, aunque tengamos nulos conocimientos de electrónica, el complejo funcionamiento de uno de los sistemas del GWF-D1000, en concreto toda su tecnología de profundímetro y alerta del mismo.
Si eres un enamorado de ese modelo seguramente al verlo lo serás más aún, y entenderás también que desarrollar algo así tiene una complejidad que se ve incrementada por la obligada miniaturización, a pesar de que Casio no sea ni mucho menos nuevo en estas lides y ya tenga mucha experiencia en este tipo de tecnologías, lo cual, seguramente, les ha servido de bastante ayuda a la hora de desarrollar una de las funciones estrella del nuevo Frogman.

Así, podemos conocer los kilohercios de funcionamiento de la alerta (dos pitidos cortos de 62,2 ms a 2KHz, y uno largo de 250 ms a la misma frecuencia), y sabemos que Casio eligió esa frecuencia específicamente por su facilidad de desplazamiento dentro del agua, lo mismo ocurre con la elección de los 4 KHz, más fácilmente audible por el oído humano. También podemos ver el ejemplo recursivo de la lectura del sensor, en el proceso de lectura.
El controlador del sensor es, por otro lado, ciertamente complejo. En esta unidad se calcula la profundidad atendiendo a la alerta de superficie de la presión del agua, con tres circuitos bien diferenciados en el cual destaca uno dedicado al oscilador, otro a la frecuencia y otro al intervalo de medición. Dos memorias de diferente uso (una de solo lectura y otra de borrado) leen datos fijos y los almacenan, y un circuito periférico unido al altavoz envía los mensajes que la unidad de control ha obtenido. Se trata de un minúsculo ordenador (aunque no sea un ordenador de buceo como tal, obviamente), que ofrece labores de apoyo para todo aficionado a las inmersiones esporádicas o, simplemente, para todo aquel que guste de un modelo actual con lo último en tecnología miniaturizada de este tipo.

No vamos a descubrir aquí nada nuevo sobre la espectacularidad del GWF-D1000, encerrado en un sublime módulo y con una caja maciza de metal tan blindada como lo puede ofrecer un cierre roscado, como tampoco descubrimos nada nuevo de su principal -y me atrevería a decir único- punto negativo: lo que hay que desembolsar para hacerse con este reloj. Lástima, porque sino sería un superventas que no tendría ningún rival no ya en el resto de las gamas de Casio, sino en el resto de modelos de cualquier otra marca del mundo. Que es decir mucho, lo sé, pero es que hasta por estética este reloj es soberbio y sublime.
Y es que los G-Shock de colores para salir al parque a jugar con los niños, y los premium para ir de fiesta o de bares, son una cosa, pero éste se encuentra a un nivel muy distinto de todos ellos. Éste juega en otra liga aparte y diferencia a los G-Shock "de juguete" y a los G-Shock "de presumir" de los G-Shock DE VERDAD.



















| Redacción: ZonaCasio.com / ZonaCasio.blogspot.com
Ese es el tipo de innovación y tecnología punta que todos reclamamos en Casio. Lo que nos daba de forma sistemática en los gloriosos años 80. El Frogman, es un relojazo, pero relegado a los que estén dispuestos a pagar esos 1000€. Vamos, lo mismo que cuesta mi Kronos Moonphase.
ResponderEliminarComo recordatorio, recomiendo la lectura de Mi próximo reloj será premium.
Relegado a los que estén dispuesto a pagarlos, y a los que puedan pagarlos, añadiendo además a los que pudiendo, y estando dispuestos, no lo pagan porque éticamente tampoco es lícito pagar ese dinero por un reloj (ni por ese, ni por cualquier otro, sea el que sea y de la marca que sea), estando el mundo como está.
ResponderEliminarTambién es un precio exagerado como herramienta de trabajo, ya que éste reloj los datos de sus sensores solo son orientativos, y le faltan muchas cosas para ser un ordenador de buceo. A lo cual hay que añadir que hay ordenadores de buceo mucho más completos por la mitad del precio del Frogman. Este es un buenísimo modelo para los amantes de G-Shock en general, y por supuesto para todo aquel que quiera disfrutar del mejor modelo digital existente a día de hoy. A 300 € o 400 € sería un precio estupendo, claro que si lo miramos con perspectiva, eso es lo que cuesta un Rangeman que está a años luz de lo que éste ofrece y de su construcción.